Сделай сам
Понедельник, 16.02.2026, 20:00
Приветствую Вас Гость | RSS
 
Главная РегистрацияВход
Меню сайта
Форма входа
Категории раздела
АВТОЛЮБИТЕЛЮ
ДЛЯ ДОМА
ИНТЕРЕСНОЕ И ПОЛЕЗНОЕ
ИЗ БУМАГИ
ЗДОРОВЬЕ
КОМПЬЮТЕРЫ И ИНТЕРНЕТ
МЕБЕЛЬ
КАК ОТРЕМОНТИРОВАТЬ
РАЗНОЕ
ПОДАРКИ И СУВЕНИРЫ
РАДИОЛЮБИТЕЛЮ
САД, ОГОРОД
БИЗНЕС И РАБОТА
МИР ЖИВОТНЫХ
КУЛИНАРИЯ
БЕЗДЕЛУШКИ
ДОМАШНЕМУ МАСТЕРУ
ПОХИМИЧИМ
ТЕХНОЛОГИИ
КАК ЭТО УСТРОЕНО
Статистика

Онлайн всего: 1
Гостей: 1
Пользователей: 0
раскрутка веб сайтов
Главная » 2012 » Май » 4 » Мощный преобразователь напряжения с 12 в 220В
20:45
Мощный преобразователь напряжения с 12 в 220В

От автора сайта. Думаю в жизни многих мастеровитых людей случалась такая ситуация, когда нужно подключиться к сети 220В, а возможности такой нет. У меня, к примеру, был такой случай - в дороге лопнула пружина переднего амартизатора и заблокировала переднее колесо. Степь, никого нет, а домой как-то надо доехать. Пружину надо было вытащить, а она жестко застряла между колесом и стойкой. Как я тогда пожалел что у меня небыло с собой вот такого преобразователя и маленькой болгарки, чтобы порезать и вытащить стальную пружину. Пришлось несколько часов потратить на решение этой проблемы, а мог решить в считанные минуты. 




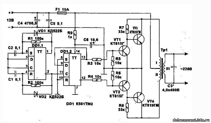
На рис. 1. приведена принципиальная схема мощного преобразователя напряжения для питания бытовых электроприборов (телевизор, дрель, электронасос и т.д.) от автомобильного аккумулятора. Преобразователь обеспечивает переменное выходное напряжение 220 В, 50 Гц на нагрузке мощностью до 100 Вт. При максимальной нагрузке потребляемый от аккумулятора ток не превышает 10 А.$CUT$
Рис. 1. Мощный преобразователь для питания бытовых электроприборов от автомобильного аккумулятора

Количество деталей в устройстве сведено к минимуму. На микросхеме DD1.1 собран задающий генератор с частотой 100 Гц. Точную настройку частоты (что важно для нормальной работы аппаратуры) осуществляют резисторами R1 и R2. Деление частоты на 2 и управление транзисторами обеспечиваются второй половиной микросхемы - D1.2. Транзисторы VT1, VT2 включены для обеспечения нормального режима работы выходов DD1.2 при максимальном токе нагрузки. Выходные транзисторы VT3, VT4 устанавливаются на радиаторы, площадь которых не менее 350 см2.

Для сглаживания прямоугольных фронтов предназначен конденсатор С3, который вместе с выходной обмоткой и нагрузкой образует резонансную систему. Его емкость сильно зависит от характера нагрузки. Трансформатор ТР1 выполнен на магнитопроводе марки ШЛМ или ПЛМ габаритной мощности 100 Вт. Обмотки I и II содержат по 17 витков провода ПЭВ-2 2,0 мм, обмотка III содержит 750 витков провода ПЭВ-2 0,7 мм.

Данную схему очень легко переработать под высокочастотный преобразователь напряжения (частота преобразования ~ 25 кГц). Для этого достаточно поднять частоту задающего генератора на D1.1 до ~ 50 кГц, изменив емкости С1 и С2 на 180 пФ, и заменить ТР1 на высокочастотный трансформатор.

Мощность преобразователя зависит от нагрузки выходных транзисторов, максимальный ток, который они могут дать не должен превышать 8 А в плече. Для увеличения тока уменьшается количество витков трансформатора в I и II обмотках до 8-10. На выходе преобразователя устанавливается диодный мост и ВЧ-фильтр, применяемые в них компоненты должны обеспечивать нормальную работу на частоте 25 кГц.
Источник
Категория: РАДИОЛЮБИТЕЛЮ | Просмотров: 4544 | Добавил: Admin | Рейтинг: 0.0/0


ПОДЕЛИСЬ СТАТЬЕЙ С ДРУЗЬЯМИ!

Нравится

Добавлять комментарии могут только зарегистрированные пользователи.
[ Регистрация | Вход ]
Мы с Вами
Сегодня нас посетили
Добро пожаловать!
Поиск
Опросы
Оцените наш сайт
Всего ответов: 5
Популярные статьи
Домик из спичек
Делаем сами чехол для айфона
Бумажная модель ВАЗ 2121 НИВА
Простой инкубатор из тазов
Жесткий диск
Copyright MyCorp © 2026